Mesin rotary ideintik dengan Mazda. Terakhir, mesin ini digunakan pada salah satu model ikoniknya yakni RX-8 namun kini tidak lagi diproduksi.
Tetapi seperti dikutip dari motortrend.com (20/1), Mazda coba kembali menghidupkan era kejayaan mesin rotary. Akan tetapi, karena terbentur dengan aturan emisi gas buang, Mazda langsung mengambil langkah cepat yakni mengawinkannya dengan motor listrik dan baterai.
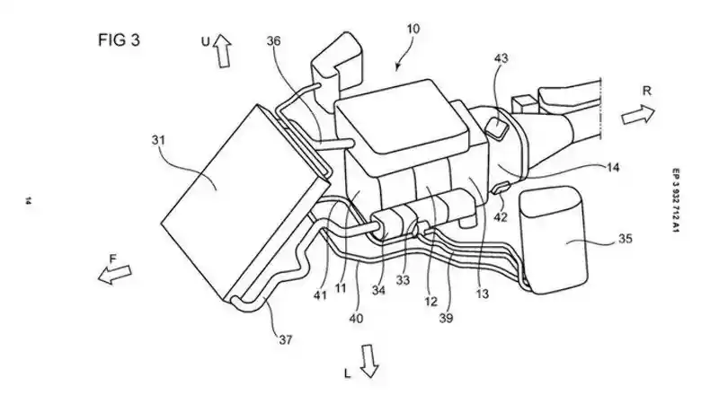
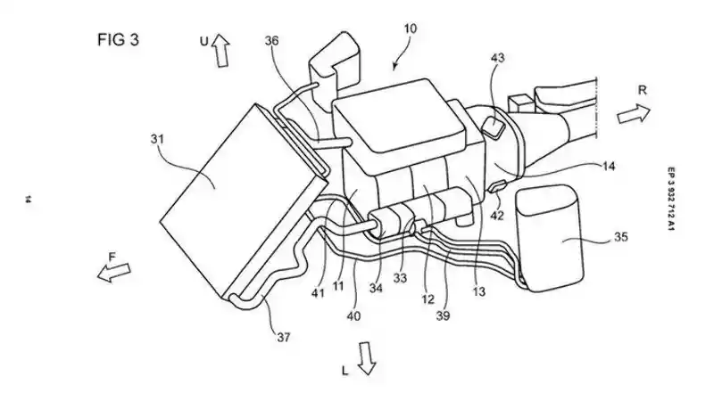
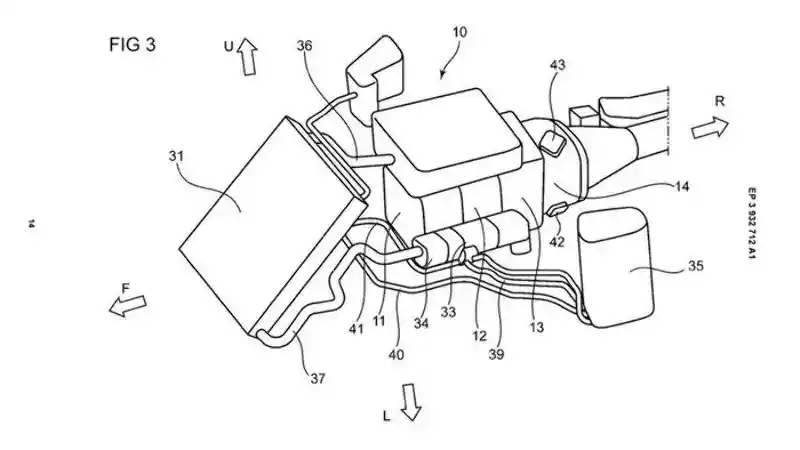
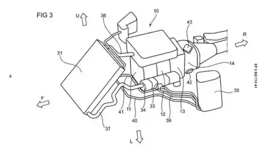
Dijelaskan merek yang bermarkas besar di Hiroshima ini mengajukan hak paten pada Juni 2021 dan diterbitkan pada 5 Januari 2022. Mazda menjelaskan mesin rotary lebih cocok untuk tata letak hibrida daripada mesin konvensional yang digerakkan oleh piston tradisional.
Karena lebih ringkas, mesin rotary dapat masuk ke ruang yang lebih kecil dengan motor listrik yang digabungkan langsung ke poros eksentrik. Untuk mendinginkan dan melumasi mesin serta motor, oli akan berbagi dengan cairan pendingin dalam sistem pengaturan yang khusus. Tenaga ke motor masih akan datang juga dari baterai yang terletak di dalam ruang kabin kendaraan.
Ini akan memungkinkan Mazda untuk menempatkan seluruh tenaga di belakang as roda depan dan drivetrain di depan as roda belakang. Itu akan menempatkan semua bagian terberat di tengah sasis untuk keseimbangan yang lebih baik dan akan memiliki gangguan kabin minimal dari seluruh pengaturan.
Sayang tidak dijelaskan kapan Mazda akan benar-benar memperlihatkan mesin rotary terbaru mereka ini, atau akan terselip pada model apa. Meski demikian kabar ini menjadi sebuah angin segar bagi fanboy mesin rotary Mazda.
