Inovasi memang tidak pernah berhenti, bahkan terkadang di luar akal sehat manusia. Seperti dilakukan Hyundai yang mematenkan mobil konsep yang bisa lipat. Memang pabrikan yang didirikan oleh Chung Ju-yung ini pertama kali mengajukan paten sejak 2014 silam, tapi baru-baru ini saja menerima persetujuan atas paten tersebut.
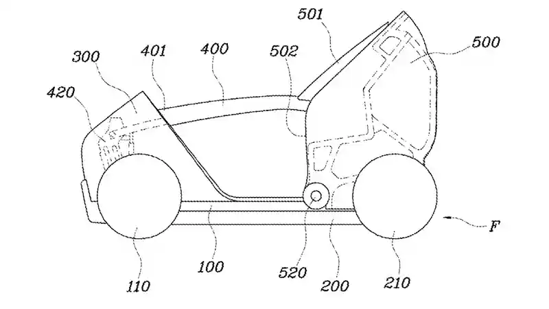
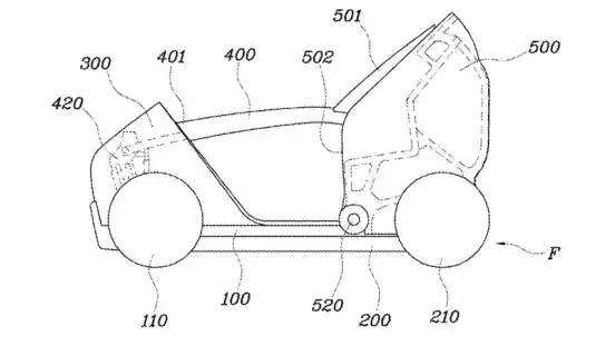
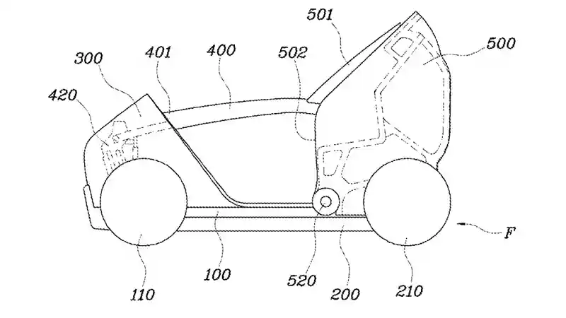
Dari sketsa paten yang diterbitkan 14 Januari lalu tersebut, terlihat kalau mobil konsep ini dapat diatur sesuai dengan kebutuhan pemiliknya. Berkat sasis yang dibuat menjadi dua bagian, mobil ini dapat dipanjangkan dan pendekan sesuai keinginan.

Lantai depan yang dipadukan dengan roda depan, sementara lantai belakang bergabung dengan roda belakang. Dengan demikian, wheelbase dapat berubah seiring dengan lantai yang bergeser dan bergerak saling tindih.
Pada bagian kaca depan memiliki engsel ke bagian panel depan yang dapat bergerak maju dan mundur. Sama halnya dengan panel belakang yang berada di lantai belakang juga dapat bergerak sama seperti kaca depan tadi. Selain itu atap mobil ini juga dapat berubah menjadi tanpa atap.
Sayangnya, Hyundai belum memberikan informasi tambahan kapan mobil konsep ini akan terwujud. Namun yang jelas mobil ini diklaim mampu menjadi solusi ketika parkir di daerah padat.










